In October 2025, a high-stakes legal battle erupted in the food and beverage industry when The J.M. Smucker Company (Smuckers) filed a federal trademark and trade dress infringement lawsuit against Trader Joe’s in the Northern District of Ohio.
At the heart of the dispute is the Smucker’s “sandwich” that has become iconic to generations of Americans: UNCRUSTABLES®. Smucker’s brand of crust-less, crimped-edge sandwich-like snacks has transcended its status as a school-lunch staple to become a billion-dollar-a-year brand in its own right.
In the early stages of the development of the UNCRUSTABLES brand, Smucker’s completed the well-considered step of obtaining utility patent protection from the United States Patent and Trademark Office (USPTO) on its new product, which it titled a “Sealed crustless sandwich,” shown here:

Image from United States Patent No. 6,004,596, Figure 1.
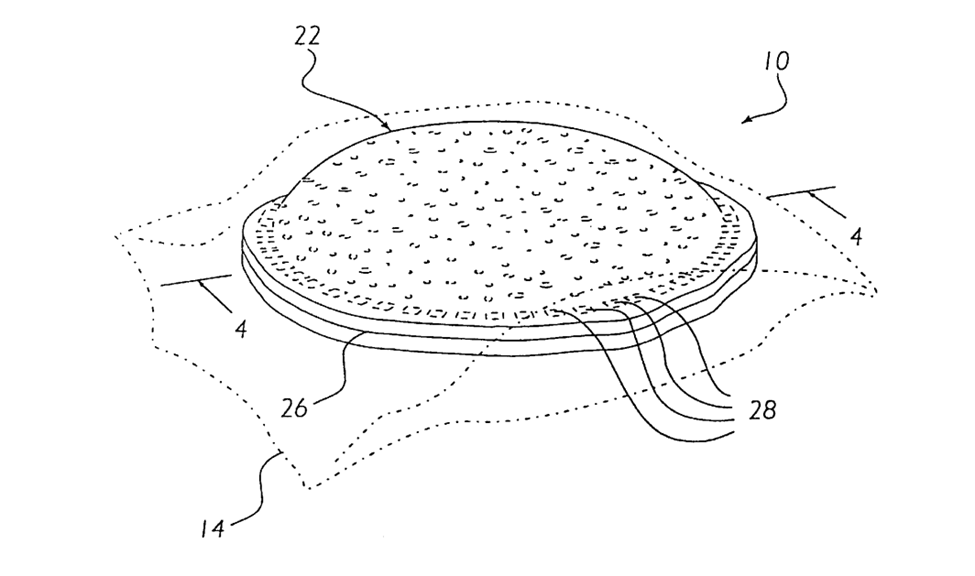
Soon after the patent was granted, Smucker’s took the additional step of seeking trade dress registration with the USPTO, for the following design:

Image from U.S. Trademark Registration No. 2,623,577
This registration was granted by the USPTO in 2002, and remains registered in good standing through at least 2032, at which time Smucker’s may choose to renew the trade dress registration for another 10 years.
Smucker’s also later secured trade dress registration for the visual display of the sandwich with a bite taken out of it, as shown here:

Image from U.S. Trademark Registration No. 5,941,408
This registration was granted in 2019 also remains in good standing with the USPTO through at least 2029.
Trader Joe’s Infringement
The complaint filed by Smucker’s alleges that Trader Joe’s launched a “Crustless Peanut Butter & Strawberry Jam Sandwich” that serves as a deliberate, calculated imitation. Smucker’s argues that the grocery chain has engaged in “brazen misappropriation” of the UNCRUSTABLES brand identity with its new products.
Among other similarities in packaging and advertising of the sandwiches, Smucker’s alleges that Trader Joe’s has copied wholesale the Smucker’s design of the products themselves, namely, the peripheral undulated crimping styling of its round sandwiches and the widely displayed image of the products with a single bite missing from the sandwich, as shown in the company’s most recent trademark registration shown above.
Confusion in the Marketplace
For Smucker’s, this is not merely a dispute over a sandwich; it is a defense of brand equity and value. UNCRUSTABLES occupies a unique role in the market where the physical product is the brand. By allowing a private-label manufacturer like Trader Joe’s to copy many aspects of its aesthetic, including the product itself, Smucker’s faces the very real risk of trademark dilution, where the distinctive nature of its round, crimped-edge sandwich becomes a generic industry standard available for use by anyone, rather than a protected asset of Smucker’s.
Smucker’s bolstered its legal filing with evidence of actual consumer confusion. Social media discourse and news stories from the summer and fall of 2025 reveal that many shoppers assumed the Trader Joe’s version was a “white label” product manufactured by Smucker’s or simply thought that this Trader Joe’s version was the Smucker’s brand itself. Consumer confusion in either scenario would lead almost any company to feel that its exclusive market position – and therefore, the value of its intellectual property – was being damaged by the actions of Trader Joe’s.
What’s Next for This Dispute?
Currently, the parties are in the very early stages of this litigation, with Smucker’s presently opposing Trader Joe’s Motion to Dismiss and Motion to Transfer Venue out of the U.S. District Court for the Northern District of Ohio. The court has yet to rule on either of these Trader Joe’s motions.
This litigation serves as a landmark case in the increasingly sophisticated “dupe” market. As private-label retailers constantly refine and sharpen their skills and abilities in mimicking name-brand aesthetics, the court’s decisions in this case could clarify the boundaries between fair competition and brand poaching.
Check back for updates to this article.
Need an Experienced IP Attorney?
Sand, Sebolt & Wernow is an intellectual property law firm. We specialize in patents, trademarks, copyrights, IP (Intellectual Property) litigation licensing, foreign filings, and trade secrets.
Our team of professionals are innovators, just like you, and passionate about protecting your intellectual property. We represent individuals and businesses of all sizes, from Fortune 500 corporations to sole proprietors. It’s our mission to guide you through the process of protecting your assets with the appropriate mix of patents, trademarks, copyrights and trade secrets.
If you’re looking for an experienced IP attorney, contact us.
